visits :
Pilot Acting Solenoid Vavle With 1/2" Cable Entry Any inquiry, please contact with info@allied-actuator.com About the product This series of products is pilot acting solenoid valve with 1/2" NPT cable entry wiring connector which can be flexibly and tightly installed and connected with various waterproof Gland connectors to meet the waterproof and dustproof requirements in cable wiring. The spool valve of this solenoid valve is with high performance spool valve available both for 3/2, 5/2 or 5/3, and the CV value is availble to 1.1, 1.4 or 2.79.
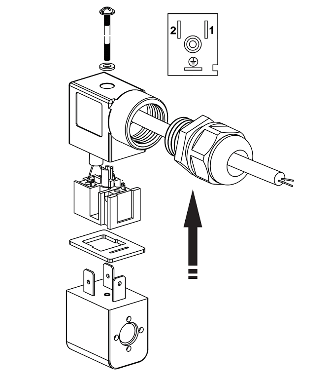
1, The left figure is a structural diagram of the coil terminal box, which features a 1/2" NPT cable entry. This allows for convenient connection to various waterproof Gland connectors during wiring, ensuring that the cable connections meet waterproof and dustproof requirements. 2, The weatherproof cable connector pointed to by the arrow in the left figure is not included in the product configuration. Users need to select and configure it according to their needs. The connection size is 1/2" NPT. 3, After correctly installing with screw and gasket as the structure shown in the left figure, the coil's climate protection rating can reach IP66. Main technology data
The model no., function and Dimension
Regarding to the details, please contact with info@allied-actuator.com, thank you in advance. |



Wiring diagram of the 1/2" NPT cable entry wiring connector
